QR kodas
Produktai
Susisiekite su mumis

Telefonas

Faksas
+86-574-87168065

paštas

Adresas
Luotuo pramoninis rajonas, Zhenhai rajonas, Ningbo miestas, Kinija
Raydafon SWC-BH standartinio lankstaus suvirinimo tipo universali mova sukurta specialiai didelio apkrovimo sukimo momento perdavimui sudėtingose sunkiosios technikos scenarijuose – pagalvokite apie valcavimo staklynus, kranus ir kalnakasybos įrangą, kuri veikia esant nuolatiniam dideliam įtempimui.
Jame yra suvirintas jungas, kaip pagrindinė dizaino ypatybė, o jo sukimosi skersmenys apima praktišką diapazoną: nuo 180 mm iki 620 mm. Atliekant sudėtingus darbus jis išsiskiria tuo, kad jis atlaiko iki 15 laipsnių kampinius poslinkius, be to, jis gali atlaikyti net 1250 kN·m sukimo momento apkrovas – tai labai svarbu, kad darbas būtų stabilus net ir atšiauriomis darbo sąlygomis.
Konstrukcijos kokybė yra orientuota į patvarumą: movai naudojamas didelio stiprumo 35CrMo plienas, užtikrinantis ilgalaikį tvirtumą, suporuotas su tiksliais adatiniais guoliais, kad ilgainiui būtų užtikrintas sklandus ir patikimas veikimas. Dėl to jis yra puikus pasirinkimas dviem pagrindiniais poreikiais: universalios movos, pritaikytos sunkioms mašinoms, ir suvirintos universalios movos, pritaikytos pramoninio lygio taikymams.
Raydafon šią movą gamina Kinijoje, o visa produkcija atitinka ISO 9001 standartus, kad būtų užtikrinta pastovi kokybė. Be to, jis siūlo pasirinktines parinktis, atitinkančias konkrečius reikalavimus – visa tai kainomis, kurios išlieka konkurencingos įmonėms, ieškančioms patikimumo ir vertės.
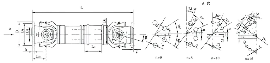
| Nr. | Sukimo skersmuo D mm | Nominalus sukimo momentas Tn KN·m | Ašių lankstymo kampas β (°) | Pavargęs sukimo momentas Tf KN·m | Lankstus kiekis Ls mm | Dydis (mm) | Besisukanti inercija kg.m2 | Svoris (kg) | |||||||||||
| Lmin | D1 (js11) | D2 (H7) | D3 | Lm | n-d | k | t | b (h9) | g | Lmin | Padidinti 100 mm | Lmin | Padidinti 100 mm | ||||||
| SWC58BH | 58 | 0.15 | 0.075 | ≤22 | 35 | 325 | 47 | 30 | 38 | 35 | 4-5 | 3.5 | 1.5 | - | - | - | - | 2.2 | - |
| SWC65BH | 65 | 0.25 | 0.125 | ≤22 | 40 | 360 | 52 | 35 | 42 | 46 | 4-6 | 4.5 | 1.7 | - | - | - | - | 3 | - |
| SWC75BH | 75 | 0.5 | 0.25 | ≤22 | 40 | 395 | 62 | 42 | 50 | 58 | 6-6 | 5.5 | 2 | - | - | - | - | 5 | - |
| SWC90BH | 90 | 1 | 0.5 | ≤22 | 45 | 435 | 74.5 | 47 | 54 | 58 | 4-8 | 6 | 2.5 | - | - | - | - | 6.6 | - |
| SWC100BH | 100 | 1.5 | 0.75 | ≤25 | 55 | 390 | 84 | 57 | 60 | 58 | 6-9 | 7 | 2.5 | - | - | 0.0044 | 0.00019 | 6.1 | 0.35 |
| SWC120BH | 120 | 2.5 | 1.25 | ≤25 | 80 | 485 | 102 | 75 | 70 | 68 | 8-11 | 8 | 2.5 | - | - | 0.0109 | 0.00044 | 10.8 | 0.55 |
| SWC150BH | 150 | 5 | 2.5 | ≤25 | 80 | 590 | 13 | 90 | 89 | 80 | 8-13 | 10 | 3 | - | - | 0.0423 | 0.00157 | 24.5 | 0.85 |
| SWC160BH | 160 | 10 | 5 | ≤25 | 80 | 660 | 137 | 100 | 95 | 110 | 8-17 | 15 | 3 | 20 | 12 | 0.145 | 0.006 | 68 | 1.72 |
| SWC180BH | 180 | 20 | 10 | ≤25 | 100 | 810 | 155 | 105 | 114 | 130 | 8-17 | 17 | 5 | 24 | 14 | 0.175 | 0.007 | 70 | 2.8 |
| SWC200BH | 200 | 32 | 16 | ≤15 | 110 | 860 | 170 | 120 | 127 | 135 | 8-17 | 19 | 5 | 28 | 16 | 0.31 | 0.013 | 86 | 3.6 |
| SWC225BH | 225 | 40 | 20 | ≤15 | 140 | 920 | 196 | 135 | 152 | 120 | 8-17 | 20 | 5 | 32 | 9 | 0.538 | 0.0234 | 122 | 4.9 |
| SWC250BH | 250 | 63 | 31.5 | ≤15 | 140 | 1035 | 218 | 150 | 168 | 140 | 8-19 | 25 | 6 | 40 | 12.5 | 0.966 | 0.0277 | 172 | 5.3 |
| SWC285BH | 285 | 90 | 45 | ≤15 | 140 | 1190 | 245 | 170 | 194 | 160 | 8-21 | 27 | 7 | 40 | 15 | 2.011 | 0.051 | 263 | 6.3 |
| SWC315BH | 315 | 125 | 63 | ≤15 | 140 | 1315 | 280 | 185 | 219 | 180 | 10-23 | 32 | 8 | 40 | 15 | 3.605 | 0.0795 | 382 | 8 |
| SWC350BH | 350 | 180 | 90 | ≤15 | 150 | 1410 | 310 | 210 | 267 | 194 | 10-23 | 35 | 8 | 50 | 16 | 7.053 | 0.2219 | 582 | 15 |
| SWC390BH | 390 | 250 | 125 | ≤15 | 170 | 1590 | 345 | 235 | 267 | 215 | 10-25 | 40 | 8 | 70 | 18 | 12.164 | 0.2219 | 738 | 15 |
| SWC440BH | 440 | 355 | 180 | ≤15 | 190 | 1875 | 390 | 255 | 325 | 260 | 16-28 | 42 | 10 | 80 | 20 | 21.42 | 0.4744 | 1190 | 21.7 |
| SWC490BH | 490 | 500 | 250 | ≤15 | 190 | 1985 | 435 | 275 | 325 | 270 | 16-31 | 47 | 12 | 90 | 22.5 | 32.86 | 0.4744 | 1452 | 21.7 |
| SWC550BH | 550 | 710 | 355 | ≤15 | 240 | 2300 | 492 | 320 | 426 | 305 | 16-31 | 50 | 12 | 100 | 22.5 | 68.92 | 1.357 | 2380 | 34 |
Kai kalbame apie sunkiasvores pramonines pavaras, užtikrinančias patikimą galios tekėjimą, SWC universaliosios jungties mova (dažnai vadinama SWC kardaninio veleno universaliosios jungties mova) yra nediskutuotina dalis. Jums bus sunku dirbti tokiose sistemose kaip valcavimo staklynai, kėlimo mašinos ir visos sudėtingos sunkiųjų mašinų sistemos – tokiose vietose, kur tiesiog neįmanoma sumažinti jėgos perdavimo kampų.
Jo pagrindinis darbas? Prijunkite du netinkamai išsidėsčiusius transmisijos velenus (nesutampančios ašys) ir įsitikinkite, kad galia ir toliau juda be kliūčių, net ir esant sunkioms darbo sąlygoms. Jokių mikčiojimo, jokių pertraukų – tiesiog pastovus perkėlimas, kai tai svarbiausia.
Išskirkime pagrindines specifikacijas, kurios leidžia atlikti šį našumą:
Sukimo skersmuo: svyruoja nuo φ58 iki φ620, tenkinantis platų pramonės poreikius. Nominalus sukimo momentas: veikia bet kur nuo 0,15 kN·m iki 1000 kN·m – pakankamai raumenų net ir dideliems sukimo momento poreikiams. Ašies lankstymo kampas: gali puikiai išlyginti iki 25° kampus, todėl gali būti nepriekaištinga.
Kur jis labiausiai išsiskiria? Pagalvokite apie valcavimo staklyno operacijas – kai jis veikia kaip patikima sunkiosios universalios jungties mova, kuri atlaiko didelį staklyno slėgį. Arba kėlimo ir medžiagų krovimo įrenginiuose, kur kaip patvari SWC kardaninio veleno mova, ji išlaiko daiktus stabilius net ir esant didelėms apkrovoms. Tai ne tik veikia – ji palaiko stabilias operacijas, kai situacija tampa sudėtinga.
SWC universaliosios jungties mova nėra tiesiog sujungiama – ji nuo pat pradžių sukurta taip, kad būtų tvirta pramoninėje aplinkoje, o funkcijos padidina našumą ir ilgaamžiškumą. Pažvelkime į tai, dėl ko jos struktūra taip gerai veikia.
Protingas, saugus dizainas
Jo esmė yra integruota šakės galvutės konstrukcija – čia nėra atskirų dalių, sujungtų varžtais. Tai svarbu, nes sumažinama rizika, kad varžtai atsilaisvins arba nutrūks, o tai yra dažnas galvos skausmas, atsirandantis dėl kitų sąrankų. Tiesą sakant, šis dizainas padidina konstrukcijos stiprumą 30–50%, palyginti su senesniais stiliais. Visiems, kurie pasikliauja sunkiųjų mašinų universaliųjų jungčių mova, tai reiškia, kad įvykus intensyviai įvyksta mažiau gedimų. Tai tokia tvirta universaliosios jungties mova, kuri veikia sklandžiai, net esant dideliam įtempimui, kai kitos dalys gali sugesti.
Sukurta vežti krovinį
Tai nėra jūsų vidutinė jungtis. SWC sunkiosios universalios jungties mova yra sukurta taip, kad atlaikytų didelį svorį – pagalvokite apie kasybos įrangą, statybines mašinas ir kitus sunkius smūgius. Kai jums reikia tvirtos universalios jungties movos, kuri neatsitrauks esant slėgiui, ji yra tinkama. Tai ne tik dydis; kalbama apie medžiagų ir inžinerijos darbą kartu, kad būtų galima greitai susidėvėti.
Efektyviai perkelia jėgą
Ar kada nors susimąstėte, kur eina visa energija didelėse pramoninėse sistemose? Čia nėra daug iššvaistoma. Šios didelio sukimo momento universalios jungties movos efektyvumas pasiekia iki 98,6 %, o tai reiškia, kad mažiau energijos prarandama dėl šilumos ar trinties. Operacijoms, kuriomis siekiama sumažinti išlaidas, tai yra didelis laimėjimas. Tai efektyvi universalioji jungtis, kuri daro skirtumą didelėse energijos perdavimo sistemose, veikia kaip patikima universalioji jungtis, kuri kontroliuoja sąskaitas už energiją.
Tylus ir pastovus
Garsūs mechanizmai gali būti tikra problema, ypač tose vietose, kur svarbus triukšmas. SWC universalios jungties jungtis palaiko ramybę, o triukšmo lygis paprastai yra 30–40 dB(A) – tyliau nei įprastas pokalbis. Dėl to tai puiki žemo triukšmo universalioji jungtis, skirta aplinkoms, kuriose labai svarbu išlaikyti žemą garsą, neprarandant reikalingo patikimumo. Nesvarbu, ar tai gamyklos grindys, ar tiksliosios dirbtuvės, ši sklandžiai veikianti universalioji jungtis atlieka darbą be raketės.
SWC-BH standartinio lankstaus suvirinimo tipo universalioji mova nėra tik dar viena dalis – tai darbinis arkliukas, sukurtas efektyviai perkelti galią, net kai mašinos patiria didelį krūvį. Suskaidykime, kur iš tikrųjų šviečia.
Paimkite, pavyzdžiui, sunkiąją techniką ir statybinę įrangą. Kai susiduriate su ekstremaliomis apkrovomis ir nuolatine vibracija – pagalvokite apie ekskavatorius ar buldozerius – ši mova neatsitraukia. Jo suvirintas dizainas suteikia papildomo tvirtumo, todėl jis išlaiko neryškesnes galimybes, kurios gali įtrūkti arba susidėvėti dėl viso tokio judėjimo. Tai universali didelio sukimo momento mova, kuri užtikrina galios tekėjimą, kad ir koks sunkus darbas būtų.
Gamyklose, ypač konvejerių linijose ir surinkimo sistemose, svarbu tikslumas. Ši pramoninio lygio universali mova valdo kampus ir išlygiavimo poslinkius nepraleisdama ritmo, išlaikant pastovų greitį. Tai reiškia, kad mažiau laiko reikia taisyti gedimus ir daugiau laiko išlaikyti gamybos ritmą. Inžinieriams tai patinka, nes jis prisitaiko prie ašinių, radialinių ir kampinių poslinkių – nedidelių poslinkių, kurie gali numesti kitas dalis.
Automobiliuose ir transporte kardaniniams velenams reikia kažko patikimo, kad galėtų sklandžiai perduoti galią. SWC-BH puikiai tinka sunkvežimiuose, traukiniuose ar kitose transporto priemonėse. Dėl lanksčios suvirinimo konstrukcijos jį lengva prijungti prie esamų konfigūracijų, o tai leidžia valdyti didelius greičius, nesumažinant saugumo. Tai universali pavaros veleno mova, skirta daiktams judėti.
Darbas jūroje ir atviroje jūroje yra sudėtingas įrangai – sūrus vanduo, atšiaurus oras, nenuspėjami kroviniai. Ši jungtis čia taip pat tinka. Kaip korozijai atspari universali jūrinė mova, ji atlaiko purškiamą druską ir audringą jūrą, todėl laivų varikliai ir pagalbinės mašinos veikia nuosekliai. Jokių su rūdijimu susijusių gedimų, jokių netikėtų išjungimų.
Atsinaujinančios energijos sąrankoms, tokioms kaip vėjo turbinos ir saulės sekimo įrenginiai, reikia dalių, kurios neeikvoja energijos. SWC-BH tampa universali atsinaujinančios energijos mova, perduodanti galią be jokio atstumo. Jis atitinka pasaulinius kokybės standartus, todėl tiek vėjo jėgainėje Europoje, tiek saulės jėgainėje Azijoje.
„Raydafon“ ne tik parduodame šias movas – mes jas pritaikome. Reikia konkretaus dydžio, medžiagos ar sukimo momento pajėgumo? Mūsų komanda patobulina SWC-BH, kad atitiktų jūsų poreikius. Susisiekite ir mes padėsime išnaudoti visas sistemos galimybes.
Kai ieškote žmogaus, kuriam būtų galima patikėti mechaninius komponentus, ypač tokius, kaip SWC-BH standartinio lankstaus suvirinimo tipo universalioji mova, Raydafon nėra tik dar viena galimybė. Esame gamintojas, kuris gyvena ir kvėpuoja kokybiškai, ir tai atsispindi kiekvienoje mūsų gaminamoje dalyje.
Visų pirma, kokybė nėra pasenusi. Naudojame aukščiausios klasės inžinerinius metodus ir griežtai tikriname kiekvieną universaliosios jungties movą – nesvarbu, ar tai būtų didelio sukimo momento, skirto sunkiosioms mašinoms, ar pramoninio lygio modeliams, skirtiems gamykloje. Kiekviena dalis atitinka ISO 9001 standartus ir mes jas sunkiai išbandome: ekstremaliomis apkrovomis, atšiauriomis sąlygomis, kad ir kokia būtų jūsų pramonės šaka. Tikslas? Jokių netikėtų gedimų, mažesnė rizika jūsų operacijoms ir sujungimas, užtikrinantis sklandų jūsų sistemų veikimą.
Tada yra pritaikymas. Būkime tikri – nėra dviejų vienodų darbų. Galbūt jums reikia konkrečių matmenų kardaninio veleno universalios movos arba jūrinio varymo universalios movos, pagamintos iš korozijai atsparios medžiagos, arba net atsinaujinančios energijos universalios movos, pritaikytos tik reikiamam sukimo momentui. Mes nepriverčiame jūsų turėti „visiems tinkančios“ dalies. Pasakykite mums, ko jums reikia, ir mes pritaikysime jį prie jūsų esamos sąrankos, nesvarbu, ar tai būtų automobilių, jūrų ar saulės / vėjo sistemos.
Ir mes suprantame, kad išlaidos taip pat yra svarbios. Jums nereikėtų rinktis tarp geros sukabinimo ir teisingos kainos. Optimizavome savo tiekimo grandinę ir padidinome gamybos apimtis, kad galėtume pasiūlyti konkurencingas kainas net ir specializuotoms dalims, pvz., universaliajai jūrų varomajai movai arba didelio sukimo momento pramoniniam modeliui, nesumažindami kokybės. Svarbu suteikti jums ilgalaikę vertę, o ne tik pigią dalį, kuri greitai genda.
Mūsų komanda taip pat neišnyksta paspaudus „užsakymą“. Nuo pirmojo skambučio – kai bandote išsiaiškinti, kuri universalioji jungtis geriausiai tinka jūsų atsinaujinančios energijos pavarai ar gamyklos linijai – iki aptarnavimo po pardavimo, jei turite klausimų, mes čia. Turime ilgametę pramonės patirtį, todėl galime padėti jums pasirinkti tinkamą pasirinkimą, padėti išvengti prastovų ir užtikrinti, kad jūsų mova veiktų būtent tai, ko jums reikia.
„Raydafon“ ne tik parduodame dalis – mes kuriame partnerystes. Mes norime būti komanda, kuria pasitikite, kad jūsų veikla judėtų į priekį, naudodamiesi universalių jungčių sprendimais, kurie dirba taip pat sunkiai, kaip ir jūs. Jei turite konkrečių poreikių, šiandien susisiekite su mūsų specialistais – pakalbėkime, kaip galime padėti.
Adresas
Luotuo pramoninis rajonas, Zhenhai rajonas, Ningbo miestas, Kinija
Tel
paštas


+86-574-87168065


Luotuo pramoninis rajonas, Zhenhai rajonas, Ningbo miestas, Kinija
Autorių teisės © Raydafon Technology Group Co., Limited Visos teisės saugomos.
Links | Sitemap | RSS | XML | Privatumo politika |
