QR kodas
Produktai
Susisiekite su mumis

Telefonas

Faksas
+86-574-87168065

paštas

Adresas
Luotuo pramoninis rajonas, Zhenhai rajonas, Ningbo miestas, Kinija
Jei naudojate sunkiasvores mašinas, pvz., plieno valcavimo staklynus, kurie visą pamainą išmeta metalą, kranus, keliančius tonas medžiagų, arba kasybos įrangą, kuri kovoja su dulkėmis ir slėgiu po žeme, jums reikia movos, kuri jūsų nenuviltų. Raydafon SWC-BH standartinė lankstaus suvirinimo tipo universali mova yra būtent tokiam tikslui: patikimam sukimo momento perdavimui, net kai darbas tampa sudėtingas.
Pirmiausia pakalbėkime apie jo dizainą. Suvirintas jungas yra ne tik savybė – tai žaidimo keitiklis. Skirtingai nuo varžtų jungų, kurie laikui bėgant gali atsilaisvinti, šis yra suvirintas tvirtas, todėl nėra pavojaus, kad dalys atsilaisvins, kai jūsų technika sunkiai dirba. Jis taip pat tinka įvairioms sąrankoms, kai sukimosi skersmuo yra nuo 180 mm iki 620 mm – nereikia ieškoti vieno dydžio varianto. Kaip standartinė lanksti universali mova, ji atlaiko iki 15 laipsnių kampinį poslinkį, o tai reiškia, kad jei jūsų velenai nėra idealiai išdėstyti (ir būkime tikri, taip būna retai), ji vis tiek išlaiko galią. Net kai sukimo momentas pasiekia 1250 kN·m – rimta galia – jis išlieka pastovus, netrūksta, nenukrenta.
Negailėjome ir medžiagų. Šis daiktas pagamintas iš 35CrMo plieno – didelio stiprumo, atsparus dilimui, net kai jis daužomas kasykloje arba kaitinamas šalia valcavimo staklyno. Be to, įdedame tikslius adatinius guolius, todėl jis juda sklandžiai, sumažina trintį ir tarnauja daug ilgiau nei pigesnės movos. Štai kodėl tai tinka universalioms sunkiosios technikos movoms – ji veikia ne tik kelias savaites; jis prilimpa ir jūsų įranga veikia. O jei jums reikalingos suvirintos universalios movos pramoninėms reikmėms? Tai štai – suvirintas dizainas geriau atlaiko vibraciją ir įtempimą nei su varžtais, todėl sugaišite mažiau laiko tvirtindami ir daugiau laiko dirbsite.
„Raydafon“ juos gaminame Kinijoje, bet neperžengiame kokybės. Kiekvienas žingsnis atitinka ISO 9001 standartus – tikriname plieną, apžiūrime suvirinimo siūles, išbandome guolius – kad žinotumėte, jog gaunate movą, kuri atitinka pasaulines kokybės taisykles. O jei jūsų sąranka šiek tiek skiriasi? Atliekame individualius pakeitimus – koreguojame dydį, pakoreguojame specifikacijas – viską, ko jums reikia, kad jis tiktų. Geriausia dalis? Tai nėra įkainota kaip prabangi dalis. Gaunate patvarią universalią movą, kuri dirba sunkiai, nemokėdami didelių pinigų. Visiems, kurie negali sau leisti prastovų, ši SWC-BH mova yra tokia patikima detalė, kuri kasdien išlaiko jūsų mašinas.
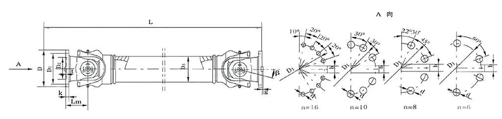
| Nr. | Sukimo skersmuo D mm | Nominalus sukimo momentas Tn KN·m | Ašių lankstymo kampas β (°) | Pavargęs sukimo momentas Tf KN·m | Dydis (mm) | Besisukanti inercija kg.m2 | Svoris (kg) | |||||||||||
| Lmin | D1 (js11) | D2 (H7) | D3 | Lm | n-d | k | t | b (h9) | g | Lmin | Padidinti 100 mm | Lmin | Padidinti 100 mm | |||||
| SWC100WH | 100 | 1.25 | 0.63 | 25° | 243 | 84 | 57 | 60 | 55 | 6-9 | 7 | 2.5 | - | - | 0.0039 | 0.00019 | 4.5 | 0.35 |
| SWC120WH | 120 | 2.5 | 1.25 | 25° | 307 | 102 | 75 | 70 | 65 | 8-11 | 8 | 2.5 | - | - | 0.0096 | 0.00044 | 7.7 | 0.55 |
| SWC150WH | 150 | 5 | 25 | 25° | 350 | 130 | 90 | 89 | 80 | 8-13 | 10 | 3 | - | - | 0.371 | 0.00157 | 18 | 24.5 |
| SWC180WH | 180 | 12.5 | 6.3 | 25° | 180 | 155 | 105 | 114 | 110 | 8-17 | 17 | 5 | - | - | 0.15 | 0.007 | 48 | 2.8 |
| SWC225WH | 225 | 40 | 20 | 15° | 520 | 196 | 135 | 152 | 120 | 8-17 | 20 | 5 | 32 | 9 | 0.365 | 0.0234 | 78 | 4.9 |
| SWC250WH | 250 | 63 | 31.5 | 15° | 620 | 218 | 150 | 168 | 140 | 8-19 | 25 | 6 | 40 | 12.5 | 0.817 | 0.0277 | 124 | 5.3 |
| SWC285WH | 285 | 90 | 45 | 15° | 720 | 245 | 170 | 194 | 160 | 8-21 | 27 | 7 | 40 | 15 | 1.756 | 0.051 | 185 | 6.3 |
| SWC315WH | 315 | 125 | 63 | 15° | 805 | 280 | 185 | 219 | 219 | 10-23 | 32 | 8 | 40 | 15 | 2.893 | 0.0795 | 262 | 8 |
| SWC350WH | 350 | 180 | 90 | 15° | 875 | 310 | 210 | 267 | 194 | 10-23 | 35 | 8 | 50 | 16 | 5.013 | 0.2219 | 374 | 15 |
| SWC390WH | 390 | 250 | 125 | 15° | 955 | 345 | 235 | 267 | 215 | 10-25 | 40 | 8 | 70 | 18 | 8.406 | 0.2219 | 506 | 15 |
| SWC440WH | 440 | 355 | 180 | 15° | 1155 | 390 | 255 | 325 | 260 | 16-28 | 42 | 10 | 80 | 20 | 15.79 | 0.4744 | 790 | 21.7 |
| SWC490WH | 490 | 500 | 250 | 15° | 1205 | 435 | 275 | 325 | 270 | 16-31 | 47 | 12 | 90 | 22.5 | 26.54 | 0.4744 | 1014 | 21.7 |
| SWC550WH | 550 | 710 | 355 | 15° | 1355 | 492 | 320 | 426 | 325 | 16-31 | 50 | 12 | 100 | 22.5 | 48.32 | 1.357 | 1526 | 34 |
Jei pavargote nuo sudėtingų jungčių, kurios sulėtina jūsų darbą arba sugenda, kai jų labiausiai reikia, Raydafon SWC-WH be lanksčiojo suvirinimo tipo universalioji mova gali pakeisti žaidimą. Jame gausu privalumų, dėl kurių jis yra geriausias pasirinkimas visiems, kuriems reikia sklandaus sukimo momento perdavimo mechaninėse sistemose – jokių painių suvirinimo veiksmų, tiesiog patikimas našumas, tinkantis jūsų darbo eigai.
Visų pirma, įdiegti šį dalyką yra daug lengviau, nei manote. Skirtingai nuo suvirintų jungčių, kurios verčia įsinešti papildomų įrankių arba laukti, kol suvirinimo siūlės sustings, SWC-WH naudojamas varžtais. Galite greitai įtraukti jį į esamą sąranką, o kada laikas atlikti techninę priežiūrą? Jį išardyti labai paprasta, todėl jūsų pramoninė įranga praleidžia mažiau laiko. Štai kodėl tai tokia puiki universali, didelio sukimo momento universalioji jungtis – neskauda galvos prastovos metu, tiesiog įlipkite, pataisykite tai, ko jums reikia, ir grįžkite į darbą.
Atsižvelgiant į ilgaamžiškumą, jis sukurtas taip, kad jį atlaikytų. Naudojame itin patvarias medžiagas, kurios atlaiko dideles apkrovas ir nuolatinę vibraciją, nesijaudindamos – puikiai tinka judrioms pramonės vietoms, kur įranga niekada nepertraukiama. Ir kadangi nėra suvirinimo, nereikia jaudintis dėl tų silpnų vietų, kurios išnyra laikui bėgant susidėvėjus suvirinimo siūlėms. Tai nėra mova, kurią reikės keisti kas kelis mėnesius; Tai patikima universalioji jungtis pramoninėms mašinoms, kuri laikosi ir užtikrina stabilų darbą.
Nesuderinimai? Jokių problemų. Velenai niekada nebūna idealiai išdėstyti, ypač automobilių ar transporto sistemose, tačiau SWC-WH kaip profesionalas susidoroja su kampiniais, ašiniais ir radialiniais nuokrypiais. Tai tokia pavaros veleno universaliosios jungties jungtis, kuri užtikrina sklandų galios judėjimą net tada, kai išlygiavimas tampa nestabilus – jokių trūkčiojimų, jokių kritimų, tik pastovus veikimas.
Ir pakalbėkime apie išlaidas. Suvirinimas prideda papildomų darbo ir medžiagų mokesčių, tačiau ši mova visa tai praleidžia. Jūs gaunate kokybišką produktą be didelių išlaidų, o tai yra didelis laimėjimas bet kokiam biudžetui. Net ir tokiose sudėtingose vietose, kaip jūrinė įranga, kur korozija yra nuolatinė grėsmė, ji išlieka kaip patikima jūrinė universalioji jungtis – atspari sūriam vandeniui, patogi jūsų piniginei.
Jei domitės atsinaujinančia energija, ši jungtis taip pat tinka. Tai tvirta universalioji jungtis, skirta atsinaujinančios energijos įrangai, kuri efektyviai perkelia energiją ir beveik nenaudoja atliekų. Be to, jis lengvas, todėl neapsunkina jūsų sistemos – puikiai tinka, kad viskas veiktų tvariai, neprarandant našumo.
„Raydafon“ ne tik parduodame movas – gaminame tokias, kurios atitinka jūsų poreikius. SWC-WH yra pritaikomas, todėl jis veikia tiksliai taip, kaip norite. Jei jums įdomu, kaip tai gali padaryti jūsų veiklą sklandesnę, tiesiog susisiekite su mūsų komanda. Be žargono, papasakosime apie tai, ką šis sujungimas gali padėti jums.
Raydafon SWC-WH be lankstaus suvirinimo tipo universalioji mova remiasi pagrindinėmis kardaninių jungčių mechanikos žiniomis, tačiau mes ją patobulinome, kad ji labiau atitiktų pramoninius darbus. Visa esmė? Sukimo momentas sklandžiai judėtų tarp dviejų ne idealiai išdėstytų velenų, net kai jie yra kampu. Kaip specialiai sukurta SWC kardaninio veleno universaliosios jungties mova, jos viduryje naudojama kryžminė dalis, kad sukimosi galia tekėtų tolygiai – būtent todėl tai yra tokia didelio sukimo momento universalioji jungtis, skirta sunkiems darbams, pavyzdžiui, valcavimo staklynams ar kėlimo mašinoms.
Išskirkime esmę, kaip tai veikia: yra du šakiniai jungai ir juos jungia centrinis kryžius (vadiname jį voru). Ši sąranka leidžia jungams pasisukti keliomis kryptimis, todėl net jei velenai pasislenka iki 25° (tai yra didžiausias ašies sulenkimo kampas), sukimo momentas vis tiek perduodamas tolygiai. Tai patvirtina ir specifikacijos: sukimo skersmuo svyruoja nuo φ58 iki φ620, o vardinis sukimo momentas yra nuo 0,15 iki 1000 kN·m. Kai naudojate jį kaip tvirtą universaliosios jungties movą, skirtą valcavimo staklyno operacijoms, ši konstrukcija reiškia, kad įvesties sukimasis virsta išėjimo judesiu be kliūčių – tos šarnyrinės jungtys sukasi pačios, kad kompensuotų nesutapimus, be pertrūkių.
Kuo svarbi dalis „be lankstaus suvirinimo“? Suvirinimo siūles iškeitėme į varžtines arba prispaustas jungtis. Laikui bėgant suvirinimo siūlės gali būti silpnos vietos, tačiau šios tvirtinimo detalės sumažina gedimo riziką, taip pat palengvina movos sujungimą. Ši pramoninė universalioji mova taip pat turi patobulintą šakės galvutės konstrukciją, kuri neleidžia varžtams atsilaisvinti ir padidina jos konstrukcijos stiprumą 30–50%. Tai labai svarbu sudėtingose vietose, pvz., kasyklose ar statybvietėse, kur ji veikia kaip patvari SWC kardaninio veleno jungtis – atlaiko dideles apkrovas ir nepasiduoda.
Efektyvumas yra dar vienas laimėjimas: jis pasiekia iki 98,6 % perdavimo efektyvumo. Sukūrėme kiekvieną dalį taip, kad sumažintume trintį ir energijos švaistymą, todėl nenuostabu, kad tai efektyvi universali jungtis, skirta dideliam energijos perdavimui didelės galios pramoninėse sistemose. Ir veikia tyliai: paprastai 30-40 dB(A). Taip yra dėl subalansuoto sukimosi ir įmontuoto vibracijos slopinimo, todėl tai yra mažai triukšminga universalioji jungtis tose vietose, kur triukšmas kelia problemų. Be to, jis sumažina energijos sąnaudas, todėl taip pat patikrina energiją taupančios universalios jungties sujungimo poreikius.
Sunkiosios technikos universaliųjų jungčių sukabinimo sistemose tai yra svarbiausia: SWC-WH tolygiai paskirsto jėgas visoms savo dalims. Nė viena detalė neatima per daug įtempimo, o tai reiškia mažiau gedimų ir ilgesnį tarnavimo laiką. „Raydafon“ ne tik kuria šią movą, kad atitiktų specifikacijas – mes pritaikome ją taip, kad ji veiktų jūsų darbui, nesvarbu, ar tai būtų tvirta sunkioji technika, ar specializuota pramoninė įranga. Jei norite ją patobulinti, kad jūsų sistema veiktų sklandžiau arba tarnautų ilgiau, tiesiog pasikalbėkite su mūsų komanda – mes padėsime jums sukurti sąranką, kuri tiksliai atitiktų tai, ko jums reikia.
⭐⭐⭐⭐⭐ Zhang Wei, mechanikos inžinierius, Beijing Industrial Machinery Co., Ltd.
Raydafon SWC-WH Without Flex Welding Type Universal Coupling be lanksčiojo suvirinimo tipo universalią movą turime savo gamybos įrangoje jau keletą mėnesių, ir ji stabiliai veikia, ypač kai stumiame savo mašinas, kad atlaikytų dideles apkrovas. Labai vertinu jo tvirtą konstrukciją: net ir tų ilgų, daug pastangų reikalaujančių pamainų metu, kai kitos dalys gali pradėti klibėti, ši jungtis užtikrina sklandų darbą – jokios atsitiktinės vibracijos, jokių staigių gedimų, kurie išmuša visą mūsų eilę.
Įdiegimas taip pat buvo lengvas. Mūsų komandai nereikėjo valandų valandų išsiaiškinti sudėtingų žingsnių; greitai jį sumontavome ir nuo to laiko nereikėjo jo keisti. Tokios didelės apkrovos pavaros, kaip mūsų, patikimumas ir kokybė yra nediskutuotini, o ši mova tikrina abu langelius. „Raydafon“ įrodė, kad yra partneris, kuriuo galime čia pasikliauti – nuoširdžiai džiaugiamės, kaip šis produktas laikosi.
⭐⭐⭐⭐⭐ John Smith, gamyklos vadovas, Floridos gamyba, JAV
Prieš kelis mėnesius panaudojau Raydafon SWC-WH jungtį mūsų Floridoje, ir tai buvo būtent tai, ko mums reikėjo – paprasta, nesudėtinga ir nuolat veiksminga. Jėgos perdavimas išlieka stabilus, o tai yra labai svarbu norint išlaikyti gamybos tempą, ir mums neteko jos liesti atliekant techninę priežiūrą. Tai didelis mūsų laimėjimas; mažiau laiko taisant dalis reiškia daugiau laiko atlikti darbą.
Net kai mašinas varome sunkiai, patiriame didelį įtampą, ši sukabinimo įtaiso jungtis netrūksta – ji tiesiog tęsiasi. Diegimas taip pat buvo paprastas; mūsų technikos greitai sukonfigūravo. O kai tą našumą susiejate su priimtina kaina? Tai tvirta vertybė. Be to, „Raydafon“ klientų aptarnavimas buvo aukščiausio lygio, kai turėjome greitą klausimą – jie greitai su mumis susisiekė. Be jokios abejonės, mes ir toliau naudosime jų produktus.
⭐⭐⭐⭐⭐ Roberto Silva, „São Paulo Engineering Solutions“, Brazilija, operacijų direktorius
Jau kurį laiką bendradarbiaujame su Raydafon, tačiau jų SWC-WH be lanksčios jungties mūsų veikloje tikrai išsiskyrė – ji ne kartą įrodė savo vertę. Pirmas dalykas, kurį pastebite, yra tvirta konstrukcija; Jis atrodo sukurtas taip, kad tarnautų, o tai reiškia, kad mūsų mašinos veikia patikimai.
Prieš pereidami prie šios movos, susidūrėme su dažnomis prastovomis dėl netinkamo suderinimo ir priešlaikinio senų dalių susidėvėjimo. Dabar? Tos problemos dingo. Tai labai sumažino mūsų prastovų laiką, o tai labai padidino produktyvumą. O montavimas? Itin paprasta – mūsų komanda negaišo laiko nustatant triktis. Bet kuriai įmonei, kuriai reikalingos galios perdavimo dalys, kuriomis galima pasitikėti, tai nieko gero. Tikrai rekomenduočiau.
⭐⭐⭐⭐⭐ Peteris Mülleris, techninis prižiūrėtojas, Stuttgart Manufacturing GmbH, Vokietija
Mes naudojome Raydafon SWC-WH jungtį savo Štutgarto gamykloje daugiau nei šešis mėnesius ir ji buvo nepriekaištinga – rimtai, visą laiką nebuvo nė vienos problemos. Jo dizainas yra paprastas, todėl montavimas yra paprastas; mūsų komanda jį sumontavo ir paruošė dirbti akimirksniu, nereikia jokių sudėtingų žingsnių ar specialių įrankių.
Vis dėlto, kas mane tikrai žavi, yra kokybė. Suvirinimas yra švarus ir tvirtas, o medžiagos atrodo aukštos kokybės – galite pastebėti, kad jos nenupjovė kampų. Reguliariai naudojant, jis puikiai laikosi ir nerodo nusidėvėjimo požymių net ir po kelių mėnesių nepertraukiamo veikimo. Esame labai patenkinti šio produkto našumu ir jis jau yra mūsų sąraše, kurį naudosime būsimiems projektams.
Adresas
Luotuo pramoninis rajonas, Zhenhai rajonas, Ningbo miestas, Kinija
Tel
paštas


+86-574-87168065


Luotuo pramoninis rajonas, Zhenhai rajonas, Ningbo miestas, Kinija
Autorių teisės © Raydafon Technology Group Co., Limited Visos teisės saugomos.
Links | Sitemap | RSS | XML | Privatumo politika |
